BTW instellingen
Toon prijzen inclusief BTW
Toon prijzen exclusief BTW
My Account
Registreren
Inloggen
Verlanglijst
(0)
Close
Over ons
Back
Services
Klantenpas
Onze merken
Politiekeurmerk
Specialisme
Back
Verfspecialist
Bedrijfskleding
Sierbeslag
Deuren
Kastenwanden
Insectenwering
Folders
Contact
Sale
Back
Kleding
Schoenen
Machines & toebehoren
Overige
IJzerwaren
Back
Ankerwerk
Back
Houtverbindingen
Back
Hoeken
Raveeldragers
Tuinbeslag
Draadmaterialen
Back
Draad
Back
Binddraad, ijzerdraad
Gaas
Back
Gaas geweven
Panelen
Siergaas
Vliegengaas
Volièregaas, gepuntlast
IJzerdraad
Back
IJzerdraad hard
Laselektroden
Staaldraad
Back
Staaldraadkabel
Aandrijftechniek
Back
Spanbussen
Lagers
Woondecoratie
Back
Gordijnophangsystemen
Back
Gordijnroede
Gordijnroede, toebehoren
Gordijnrail
Gordijnrail, toebehoren
Schilderijophangsystemen
Back
Schilderijrail
Schilderijrail, toebehoren
Veren
Back
Drukveren
Trekveren
Dragers
Kabels
Back
Kabelklemmen
Kabeltoebehoren
Spanschroeven
Katrollen
Kettingen
Back
Genovese kettingen
Kettingen gekleurd
Voetkettingen
Ketting, toebehoren
Scheepskettingen
S-haken
Sierkettingen
Victorkettingen
Voetkettingen
Kogelketting
Patentketting
Wandrailsystemen
Back
Wandrails
Aanlegringen
Koordhouders
Krulhaken
Musketonhaken
Ogen
Ophangogen
Puntduimen
Schroefduimen
Schroefhaken
Schroefogen
Bevestigingsmaterialen
Back
Afdekkappen Moeren, Bouten en Schroeven
Schroeven
Back
Afstandschroeven
Houtschroeven
Houtbouwschroeven
MDF schroeven
Plaatschroeven zelfborend
Snelbouwschroeven
Snelbouwschroeven op band
Spaanplaatschroeven
Stelschroeven
HPL-plaatschroeven
Vlonderschroeven
Glaslatschroeven
Beslagschroeven
Stokeinden
Plaatschroeven zelftappend
Profielplaatschroeven
Tuinbeslagschroeven
Paalhouderschroeven
Sandwichpaneelschroeven
Sprenglerschroeven
Bouten
Back
Metaalschroeven
Vleugelschroeven
Houtdraadbouten
Oogbouten
Slotbouten
Zeskantbouten
Zeskanttapbouten
Patentbouten
Binnenzeskantbouten
Golfplaatbouten
Bouwverankering
Back
Ankers
Keilbouten
Keilhulzen
Spanhulzen
Bundelbanden
Chemische verankering
Back
Chemische ankers
Ankerstangen
Draadstangen
Klinksystemen
Back
Blindklinknagels
Blindklinkmoeren
Klinknagels
Moeren
Back
Borgmoeren
Dopmoeren
Flensmoeren
Oogmoeren
Vleugelmoeren
Zeskantmoeren
Koppelmoeren
Dwarsmoeren
Hulsmoeren
Nieten
Nagels
Back
Bootnagels
Bouwplaatnagels
Brads
Nagels op strip/band
Draadnagels / spijkers
Draadkrammen
Duplexnagels
Betonnagels
Klisjesnagels
Meubelnagels
Ribnagels
Schroefnagels
Stalen nagels
T-nagels
Tochtstripnagels
Coilnagels
Asfaltnagels
Golfplaatnagels
Pennen
Back
Borgpennen
Borgveren
Splitpennen
Pluggen
Back
Gasbetonpluggen
Hollewandpluggen
Hollewandankers
Isolatieplaatpluggen
Kozijnpluggen
Nagelpluggen
Universeel pluggen
Constructiepluggen
Messing pluggen
Rubber pluggen
Gevelpluggen
Ringen
Back
Afdichtringen
Asborgringen
Carrosserieringen
Isolatieringen
Kraalringen
Sluitringen
Veerringen
Fiberringen
Zeilringen
Gelaste ringen
Sluitplaten
Sluitingen
Back
D-Sluitingen
Harpsluitingen
Touw en koord
Back
Polypropyleen touw
Nylon koord
Bindtouw
Metselkoord
Paktouw
Bootlijn
Nylon snoer
Hang- en Sluitwerk
Back
Bouwbeslag
Back
Meubelbeslag
Back
Meubelverbindingen
Ladebeslag
Back
Ladegrepen
Ladegeleiders
Meubelgrepen
Meubelknoppen
Meubelbescherming
Back
Viltglijders
Nylon en metalen glijders
Anti-krasvilt
Anti-slip
Stootdoppen
Insteekdoppen
Peerdoppen
Deurbeslag
Back
Veiligheidsbeslag
Back
Veiligheids garnituren
Veiligheids rozetten
Veiligheids schilden
Beldrukkers
Briefplaten
Brievenbusafdichtingen
Deurgarnituren
Deurbeslag, toebehoren
Deurstoppers en deurbuffers
Deurknoppen
Deurkrukken
Knopkrukken
Deurspionnen
Huisnummers
Back
Stickers
Rozetten
Back
Cilinderrozetten
Krukrozetten
Sleutelrozetten en plaatjes
Knopschilden
Schuifdeurkommen
Stormkettingen
Schilden
Raambeslag
Back
Raamuitzetters
Back
Electrische raamopeners
Combi-uitzetters
Telescopische uitzetters
Uitzetters met vaste standen
Onderdelen en accessoires uitzetters
Raamsluitingen
Veiligheidsraamsluitingen
Raam oplegsloten
Raam veiligheidsoplegsloten
Draai-kiep raamkrukken
Raamknippen
Valijzers
Raamscharen
Raampennen
Raambeslag, toebehoren
Schuifdeurbeslag
Back
Schuifdeurrails
Schuifdeurgeleiders
Geleiderprofielen
Raildragers
Onderrollen
Hangrollen
Deurpaketten
Softclose
Accessoires en toebehoren
Garderobesystemen
Back
Kastroede
Kastroedesteunen
Gardelux 1 garderobes
Haken en kapstokgarnituren
Back
Hoed- en jashaken
Jashaken
Handdoekhaken
Leuninghouders
Zorgbeslag
Back
Zorgproducten junior
Zorgproducten senior
Rolluikbeslag
Back
Rolluikbeslag, toebehoren
Grepen
Back
Kistgrepen
Komgrepen
Handgrepen
Brievenbussen
Inbraakbeveiliging
Back
Anti-klimstrippen
Anti-inbraakstrips deuren
Anti-inbraakstrips ramen
Barrierestangen
Schuifpuibeveiliging
Valraambeveiliging
Garagedeurbeveiliging
Cilinders
Back
Dubbele profielcilinders
Halve profielcilinders
Knopcilinders
Gelijksluitende sets
Cilinders met veiligheidscertificaat
Elektronische cilinders
Overige cilinders
Back
Automatencilinders
Nokkensloten
Hangsloten
Back
Hangsloten cilinder
Discussloten
Hangsloten met cijfer
Hangsloten gelijksluitend
Ketting- kabelsloten
Back
Kettingsloten
Kabelsloten
Kluizen
Back
Geldkisten
Kluizen
Sleutelkasten/-kluizen
Scharnieren
Back
Ongelagerde scharnieren
Kogellagerscharnieren
Smart scharnieren
Veiligheidsscharnieren
Back
Kogellagerscharnieren
Ongelagerde scharnieren
Venelite- en nylonlagerscharnieren
Kogelstiftpaumelles
Smart scharnieren
Venelite- en nylonlagerscharnieren
Deurveerscharnieren
Kogelstiftpaumelles
Inboorpaumelles
Aanlashengen en paumelles
Hengen
Back
Staarthengen
Kruishengen
Duimhengen
Duimen
Dievenklauwen
Keukenscharnieren
Glasdeurscharnieren
Pianoscharnieren
Scharnierbeveiliging
Onderdelen en accessoires scharnieren
Back
Scharnierpennen
Lagers
Vulringen
Onderlegplaten
Sierhulzen
Overige scharnieren
Sloten
Back
Binnendeursloten
Back
Loopsloten
Kastsloten
Badkamersloten
Klaviersloten
Cilindersloten
Magneetsloten
Schuifdeursloten
Rolschootdeursloten
Paniekdeursloten
Veiligheidssloten
Back
Veiligheidssloten
Veiligheidsbijzetsloten
Smaldeursloten
Back
Loopsloten
Kastsloten
Cilindersloten
Rolschootdeursloten
Schuifdeursloten
Oplegsloten
Meubelsloten
Sluitkommen
Sluitplaten
Sleutels en toebehoren
Sluitwerk
Back
Snapsluitingen
Anti-paniekbeslag
Deurdrangers en toebehoren
Deursluiters
Deurvastzetters en toebehoren
Espagnoletten en toebehoren
Grendels
Back
Grondgrendels
Hangslotgrendels
Varkenshokgrendels
Staartgrendels
Plaatgrendels
Valgrendels
Grendelsloten
Luikoverslagen
Overslaggrendels
Toebehoren grendels
Universeelgrendels
Insteekgrendels
Insteekgrendels afsluitbaar
Kierstandhouders
Overvallen
Schuiven
Back
Krukschuiven
Rolstaartschuiven
Rolschuiven
Hangslotschuiven
Voordeurschuiven
Profielschuiven
Kantschuiven
Lichte schuiven
Deuropvangbeugels
Eierkistsluitingen
Elektronische beveiligingssystemen
Freesmallen
Bouwmaterialen
Back
Profielen
Back
Bouwprofielen
Back
Afdekstrippen
Dakrandprofielen
Horprofielen
Lekdorpelprofielen
Plaatprofielen
Profielen standaard
Trapprofielen
Tafelrandprofielen
Stucprofielen
Beschermingsprofielen
Platen
Back
Stuco platen
Preventieprofielen
Back
Raamprofielen anti-inbraak
Raamprofielen anti-inbraak SKG*
Raampreventieprofiel, toebehoren
Folies
Back
Bouwfolies
Beschermfolies
Isolatiematerialen
Lood
Back
Bladloodvervangers
Afdichtingsbanden
Back
Beglazingsbanden
Compressiebanden
Dichtingsbanden
Rugvullingsmaterialen
Schuimband
Dakbedekkingen
Back
Dakbedekkingen
Rookgasafvoermateriaal
Back
Boldraadroosters
Ventilatie
Back
Luchtroosters
Ventielroosters
Bolroosters
Deurroosters
Overdrukroosters
Plintroosters
Schuifroosters
Schoepenroosters
Ventilatiebuis
Ventilatiebuis, toebehoren
Ventilatieroosters
Ventilatierozetten
Ventilatiesets
Ventilatiestrippen
Ventilatoren
Vloer-gevelventilatie
Afvalzakken
Afdekmaterialen
Back
Beschermmaterialen
Dekkleden
Gips, mortel en vulmaterialen
Back
Portlandcement
Zandcement
Snel-cement
Metselmortel
Zand
Egalisatiemiddelen
Tegellijmen
Tegelvoeg
Vulmaterialen
Gipspleister
Voor- & nabehandeling
Vuurvaste mortel
Net / wapening
Golfplaten en toebehoren
Tochtwering
Back
Inbouwprofielen
Opbouwprofielen
Dorpelprofielen
Borstelprofielen
Slijtdorpels
Valdorpels
Zelfklevend tochtband
Brievenbus afsluiters
Tochtwering, accessoires
Rook- en brandwering
Geluidswering
Vingerbescherming
Installatietechniek en Sanitair
Back
Sanitair
Back
Toiletten
Back
Toilet-accessoires
Toilet, toebehoren
Toiletzittingen
Badkamer
Back
Badkamer-accessoires
Douchekoppen
Glijstangen
Doucheslangen
Back
Doucheslangen metaal
Doucheslangen kunststof
Douchegordijn en toebehoren
Kranen
Back
Douchekranen
Badkranen
Wastafelkranen
Fontein en toiletkranen
Keukenkranen
Kraan toebehoren
Zorghulpmiddelen
Sifons & Wastes
Afsluiters
Back
Kogelkranen
Schuifafsluiters
Binnenriolering
Back
Binnenriolering, pvc
Back
PVC Buis
PVC Hulpstukken
Back
Lijmverbinding
Manchetverbinding
Binnenrioleringonderdelen
Afvoerputten en goten
Back
Gootsteenplug, korfplug, simplexplug
Back
Plugstoppen
Vloerputten
Douchepluggen
Douchegoot
Sifons en toebehoren
Beluchting en Ontluchting
Back
Ontluchters/beluchters
Plakplaten
Ontluchtingskappen
Buitenriolering
Back
Buitenriolering, pvc
Back
PVC Buis
PVC Hulpstukken
Back
Manchetverbinding
Buitenrioleringonderdelen
Hemelwaterafvoer
Back
Dakgoten
Back
Bakgoot en hulpstukken
Kraalgoot en hulpstukken
Mastgoot en hulpstukken
Hemelwaterafvoeronderdelen
Regentonnen
Buis
Hulpstukken
Platdakafvoer
Lijngoten, Afvoergoten
Hemelwaterafvoer Zink
Buisklemmen
Fittingen
Back
Malleabele fittingen
Messing Soldeerfittingen
Gaskoppelingen
Messing draadfittingen
RVS draadfittingen
Messing slangtules
Multi-fit systeem
Kranen
Back
Kraanverlengstukken
Rozetten en S-koppelingen
Vorstvrije buitenkranen
Tapkranen
Manometers
Oorklemmen
Slangklemmen
Terugslagkleppen
Verwarmingslinten
Drukleidingsystemen
Back
PVC Drukhulpstukken
Back
Lijm hulpstukken
Draad hulpstukken
Lijm / draad overgangshulpstukken
Kunststof afsluiters, terugslagkleppen en toebehoren
PP Aanboorzadels voor PVC / PE buizen
Slangtules
Gasslangen
Geka koppelingen
Tyleen
Back
Tyleenslang
Tyleen koppelingen
Flexibele aansluitslangen rvs
ALU-PERS SYSTEEM
Back
Alu-pers gereedschap
Alu-pers systeem buis
Schroefdraadafdichting
Verf, Lijm, Kit en Tape
Back
Tapes
Back
Afdichtingstapes
Isolatietapes
Verpakkingstapes en plakband
Bevestigingstapes
Duct tapes
Masking tapes
Magneetband
Kantband
Klittenband
Veiligheid en markering
Back
Tapes anti-slip
Aluminium tapes
Tapijttapes
Duurzaam luchtdicht bouwen
Teflon tape
Kitten
Back
Ontvetters en finishers
Afdichtingskitten
Acrylaatkitten
Beglazingskitten
Kit, toebehoren
Kitten brandvertragend
Kitten vuurvast
Lijmkitten
Siliconenkitten
Montagelijmen
EPDM Lijmen
Lijmen
Back
Montagekitten
Contactlijmen
Huishoud- en Hobbylijmen
Houtlijmen
Constructielijmen
Speciale lijmen
Lijmen 2-componenten
Lijmpatronen
PVC lijmen
Secondelijmen
Vloerbedekkingslijmen
Wandbekledingslijmen
Steenlijmen
Borgmiddelen
Lijmspray
Lijmboxen
Vloeibare pakking
Cilindrische bevestiging
Pasta's
Back
Koperpasta's
Snijpasta's
Stoppasta's
Purschuimen
Back
Reinigers
Verf
Back
Autolakken
Back
Primers aerosol
Markeringsverven
Buiten Beitsen
Deklagen
Grondlagen
Muurverven
Oliën
Vloerverven
Eén Pot systeem
Grondverven
Lakverven
Spuitbussen
Betonverven
Metaalverven
Radiatorlakken
Tuinbeitsen en Oliën
Tegellakken
Menie
Reinigen, ontvetten en verdunnen
Back
Reinigers en verdunners
Plamuren en vulmiddelen
Technische sprays, vetten en poeders
Back
Lasspray
Electro reinigings- en onderhoudssprays
Zinkspray
Smeermiddelen - Sprays vloeibaar
Smeermiddelen - Vetten
Lek - opsporingsmiddelen
Machines
Back
Accu gereedschap
Back
Machine assortiment
Accu's
Boorbreekhamers
Blindklinknageltangen
Boorhamers
Boormachines
Boorschroefmachines
Freesmachines
Lampen
Oplaadapparaten
Pompen
Stofzuigers
Schaafmachines
Scharen
Schroefautomaten
Schuurmachines
Slagmoeraanzetters
Slagschroevendraaiers
Slijpmachines
Zaagmachines
View All
Elektrisch gereedschap
Back
Boorbreekhamers
Boorhamers
Breekhamers
Boormachines
Diamant gereedschap
Freesmachines
Heaters
Heteluchtpistolen
Lasapparaten
Lijmpistolen
Mengmachines
Multi-machines
Pompen
Stofzuigers
Schuurmachines
Slijpmachines
Soldeerbouten
Tackers
Zaagmachines
Handbediende machines
Back
Boormachines
Handtackers
Tegelsnijmachines
Pneumatisch gereedschap
Back
Drukregelaars
Compressoren
Back
Compressoren - 230V
Compressorolie
Perslucht beitelhamers
Perslucht slagmoersleutels
Luchtslang en haspels
Luchtkoppelingen
Bandenpompen
Persluchtsets
Stationair machines
Back
Slijpmachines
Zaagmachines
Radio's
Back
Radio's, toebehoren
Machine koffers en Systainers
Aggregaten
Tuingereedschap
Back
Brandstoffen, oliën en smeermiddelen
Back
Onderhoudsmiddelen
Kettingzaagolie
Motorolie
2 takt / 4 takt
AdBlue
Hydraulische olie
Vulaccessoires
Jerrycans
Accu gereedschap
Back
Kettingzagen / motorzagen
Heggenscharen
Grastrimmers / kantenmaaiers / bosmaaiers
Bladblazers / bladzuigers
Combi systeem / multi systeem
Robot maaiers
Back
Robotmaaiers, toebehoren
Grasmaaiers
Snoeischaren en snoeizagen
Oplaadapparaten
Accu's
Zitmaaiers
Buxusscharen / grasscharen
Accu's, toebehoren
Hogedrukreinigers
Elektrisch gereedschap
Back
Kettingzagen / motorzagen
Heggenscharen
Grastrimmers / kantenmaaiers / bosmaaiers
Bladblazers / bladzuigers
Grasmaaiers
Verticuteermachines / gazon beluchters
Hakselaars / houtversnipperaars
Hogedrukreinigers
Back
Hogedrukreinigers, toebehoren
Motorisch gereedschap
Back
Kettingzagen / motorzagen
Heggenscharen
Grastrimmers / kantenmaaiers / bosmaaiers
Bladblazers / bladzuigers
Combi systeem / multi systeem
Grasmaaiers
Zitmaaiers
Doorslijpers / bandenzagen
Tuingereedschap, toebehoren
Back
Kettingzagen / motorzagen, toebehoren
Back
Zaagkettingen
Zaagblad geleiders
Heggenscharen, toebehoren
Grastrimmers / kantenmaaiers / bosmaaiers, toebehoren
Tuingereedschap, machine onderdelen
Machine, toebehoren
Back
Boorhouders
Boorschroefmachine, toebehoren
Boormachine, toebehoren
Decoupeerzaagmachine, toebehoren
Freesmachine, toebehoren
Heteluchtpistool, toebehoren
Mengmachine, toebehoren
Lasapparaat, toebehoren
Pomp, toebehoren
Reinigingsmachine, toebehoren
Schaafmachine, toebehoren
Schuurmachine, toebehoren
Slijpmachine, toebehoren
Soldeerbout, toebehoren
Stofzuiger, toebehoren
Zaagmachine, toebehoren
Multi-machine, toebehoren
Schroefmachine, toebehoren
Tegelsnijmachine, toebehoren
Tapijtverwijderaar, toebehoren
View All
Machineonderdelen
Back
Stofzuiger onderdelen
Toebehoren Machines
Back
Lassen en solderen
Back
Soldeer
Back
Tin / koper
Tin / lood
Soldeerstaven
Soldeervloeistof
Soldeerpasta
Boren
Back
Borensets
Betonboren
Diamantboren
Dozenboren
Glasboren
Houtboren
Kernboren
Metaalboren
Steenboren
Tegelboren
Verzinkboren
Keramiekboren
Bovenfrezen hout
Back
Fasefrezen
Frees, toebehoren
Frezen met kogellager
Frezensets
Groeffrezen
Holprofielfrezen
Hoekfrezen
Kantenfrezen
Kopieerfrezen
Kwartrondfrezen
Lijstfrezen
Profielfrezen
Sleutelgatfrezen
Sponningfrezen
V-groeffrezen
Zwaluwstaartfrezen
Getrapte frezen
Afrondfrezen
Schijffrezen
Freesboren
Frezen metaal
Back
Stiftfrezen HM
Stiftfrezen HSS
Stiftfrezen VHM
Universeelfrezen
Frezen steen
Back
Muurfrezen
Gatzagen
Back
Gatzaag, toebehoren
Polijstmiddelen
Back
Polijstsets
Polijst- en poetsschijven
Polijstmaterialen en pasta's
Schaafmessen / schaafbeitels
Schuurmiddelen
Back
Klitschuurschijven
Klitschuurbladen
Schuurbanden
Schuurschijven
Steunschijven
Schuurgaas
Handschuurmaterialen
Zaagbladen
Back
Cirkelzaagbladen
Diamant zaagbladen
Decoupeerzaagbladen
Reciprozaagbladen
Multimachine zaagbladen
Zaagblad, toebehoren
Zaagbladen voor isolatiezaag
Freesmessen en keermessen
Schijven
Back
Afbraam- doorslijpschijven
Diamant schijven
Doorslijpschijven
Lamellenschijven
Schijven assortiment
Rubberen schijven en hulpstukken
Schijven, toebehoren
Domino's / Deuvels / Duvels
Spijkers en nieten
Handgereedschappen
Back
Gereedschapssets
Aftekengereedschappen
Back
Schrijfhaken
Winkelhaken
Zwaaihaken
Veelzijdig aftekengereedschap
Passers
Centerpunten
Kraspennen
Kalklijnproducten
Potloden
Stiften
Pennen
Aftekenlakken
Gelmarkering
Krijt
Bankschroeven
Back
Bankschroeven
Draaiplaten
Opzetbekken
Beitels
Back
Koudbeitels
Sloopbeitels
Bits
Back
Bit, toebehoren
Bitsets
Blindklinktangen
Back
Blindklinktangen
Blindklinknageltang, toebehoren
Demontagegereedschappen
Back
Trekkers
Bout,- moerverwijderaars
Tapeinduithalers
Dopsleutelgereedschappen
Back
Dopsleutels
Dopsleutelsets
Dopsleutel, toebehoren
Ratels
Slagdopsleutels
Slagdopsleutelssets
Slagdopsleutels, toebehoren
Dopschroevendraaiers
Draadborstels
Back
Staaldraadborstels
Drijvers
Back
Pendrijvers
Hamers
Back
Bankhamers
Combinatiehamers
Hamers, rubber
Klauwhamers
Kloppers
Stratenmakershamers
Voorhamers
Houtbewerkingsgereedschappen
Back
Gutsen
Schaven
Verzinkboren
Kitgereedschappen
Back
Kitpistolen
Kitstrijkers
Klemgereedschappen
Back
Lijmtangen
Lijmgereedschappen
Back
Lijmkammen
Lijmpistolen
Loepen
Back
Zakloepen
Machinesleutels
Back
Moersleutels verstelbaar
Pijpsleutels
Pijpsleutelsets
Ringsleutels
Ring- steeksleutels
Ring- steeksleutelsets
Steeksleutels
Steeksleutelsets
Stiftsleutels
Stiftsleutelsets
Ring- ratelsleutelsets
Ring- steek ratelsleutels
Meetgereedschappen
Back
Afstandmeters
Micrometers
Detectors
Duimstokken
Gradenbogen
Hoekmaten
Landmetermaten
Schuifmaten
Rolbandmaten
Voelermaten- banden
Waterpassen
Multimeters
Thermo/hygrometer
Metselgereedschappen
Back
Betonschrapers
Bouwemmers
Speciekuipen
Metselprofielen
Sabels
Schragen
Spanen
Troffels
Voegborden
Voegspijkers
Raapborden
Metselkoord
Momentgereedschappen
Back
Momentsleutels
Tuingereedschappen
Back
Batsen
Back
Schepbatsen
Steekbatsen
Bijlen
Back
Houthiepen
Kloofbijlen
Keukenbijlen
Bosbouwgereedschappen
Bloemenschepjes
Bollenplanters
Cultivators
Drukspuiten
Back
Plantenspuiten
Drukspuiten
Rugspuiten
Spuiten, toebehoren
Graskantstekers
Grondboren
Hakken
Harken
Back
Asfaltharken
Bladharken
Handharkjes
Hooiharken
Tuinharken
Verticuteerharken
Kniekussens
Krabbers
Back
Handkrabbers
Messen
Back
Aspergemessen
Mesthaken
Back
Mestrieken
Onkruidstekers
Opbergsystemen
Pikhouwelen
Pootstokken
Schoppen
Back
Betonschoppen
Ballastschoppen
Graanschoppen
Zandschoppen
Schop, toebehoren
Schoffels
Elektra
Back
Beveiliging
Back
Beveiliging elektronisch
Back
Hittemelders
Rookmelders
Brandbeveiliging
Back
Vlammendovers
Batterijen
Back
Batterijen
Batterijen oplaadbaar
Knoopcellen
Batterijen voor gehoorapparaat
Batterijtesters
Verwarmingsapparatuur
Verdeelblokken en tafeldozen
Back
Verdeelblokken
Tafeldozen
Kabelhaspels
Draad en kabel
Back
Installatiedraden
Signaalkabels
Communicatiekabels
Verlengkabels
Aansluitsnoeren
Draad en kabel, toebehoren
Back
Warmtekrimpkousen
Kabelgoten
Snoerschakelaars
Ritsslang
Buitenkabels
Grondkabels
Huishoudkabels
Kabelbevestigingsmaterialen
Back
Zadels
Kabelschoenen
Back
Perskabelschoenen geïsoleerd
Lasdoppen
Lasdozen / kabeldozen
Back
Kabeldozen
Installatiematerialen
Back
Perilex
Installatiebuizen
Installatiebuis, toebehoren
Inbouwdozen
Back
Inbouwdozen
Buisinvoerstukken
Schakelmateriaal
Back
Schakelmateriaal opbouw
Schakelmateriaal inbouw
Dimmers
Bewegingsmelders
Schakelmateriaal, toebehoren
Tijdschakelaars
Schakelmateriaal spatwaterdicht opbouw
Schakelmateriaal spatwaterdicht inbouw
Schemerschakelaars
Kabelmanagementsystemen
Verlichting
Back
LED lampen
Back
E14
E27
R7S
GU10
G9
G4 // GU5.3 // GY6.35
Bewegingssensor / dag- en nacht sensor
Buisvormig
Gloeilampen
Back
E14
E27
Halogeenlampen (op=op)
Back
E14
E27
R7S
G9
G4 // GU5.3 // GY6.35
Spaarlampen
TL LED lampen
TL fluorescentielampen
LED vervanging voor CFLni lampen
Starters
TL armaturen
Zaklampen
Hoofdlampen
Looplamp
Werklampen
Inbouw armaturen
Binnenverlichting
Back
Inbouw
Buitenverlichting
Tuinverlichting
Lichtsnoeren
Lampen, toebehoren
Nachtlampen
View All
Isolatie- bescherming
Back
Gietharsen
Radio tv Audio
Back
Coax
HDMI
Bellen en Gongen
Domotica
Aardingsmaterialen
Back
Aardklemmen
Kleding en Bescherming
Back
Werkkleding
Back
Signaalkleding
Regenkleding
Bosbouwkleding
Overalls
Jassen
Bodywarmers
Vesten
Werkbroeken
Amerikaanse overalls
Korte broeken
Sweaters
Polosweaters
Polo's
T-shirts
Onderkleding
Kleding, toebehoren
Voetbescherming
Back
Werkschoenen laag
Werkschoenen hoog
Werkschoenen instapper
Veiligheidslaarzen
Laarzen
Klompen
Sokken
Schoen, toebehoren
Back
Inlegzolen
Veters
Onderhoudsmiddelen
Handbescherming
Back
Werkhandschoenen
Wegwerp handschoenen
Tuinhandschoenen
Huishoud / Outdoor handschoenen
Valbeveiliging
Back
Valbeveiligingssets
EHBO
Back
Verbandtrommels
Lasbescherming
Back
Lasschilden
Hoofdbescherming
Back
Mutsen
Caps
Gehoorbescherming
Back
Oorkappen
Oorpluggen
Oogbescherming
Back
Veiligheidsbrillen
Laserbrillen
Ademhalingsbescherming
Back
Halfgelaatsmaskers
Gelaatmasker filters
Stofmaskers
Lichaamsdelenbescherming
Back
Kniebeschermers
Koeling producten
Huidbescherming
Back
Huidreiniging
Gelaats,- en gehoorbescherming
Back
Vizier met oorkappen
Disposables
Back
Kleding wegwerp
Handbescherming wegwerp
Voetbescherming wegwerp
Kleding en bescherming voor kinderen
Huis en Tuin
Back
Logistiek
Back
Extern transport
Back
Kruiwagens
Kruiwagen onderdelen en toebehoren
Ladingvastzetsystemen
Steenkruiwagens
Gereedschapskruiwagens
Intern transport
Back
Pallettrucks
Platendragers
Steekwagens
Rolplateau's
Draaghulpmiddelen
Opbergmaterialen
Back
Assortimentsdozen
Gereedschapskisten
Gereedschapskoffers
Tassen
Spijkerschorten
Gereedschapshouders
Opslagbakken
Werkplaatsinrichting
Back
Rolbokken
Stellingen
Wielen
Back
Zwenkwielen
Bokwielen
Bebording
Verpakkingsmaterialen
Back
Blikverpakkingen en vaten
Huishoudelijk
Back
Afvalverzameling
Back
Afvalverzamelaars
Afvalzakken
Drogen
Back
Drooglijnen
Droogmolens
Droogrekken
Strijken
Wassen
Back
Wasmiddelen
Wasmachine/droger, toebehoren
Back
Wasmachine afvoerslangen
Voeding
Back
Conserveren
Barbecue artikelen
Persoonlijke verzorging
Ongedierte bestrijding
Back
Insectenwering
Back
Horren
Dierenvallen
Vliegenmeppers
Dierenverschrikkers
Bestrijdingsmiddelen
Insectenlampen
Transportmiddelen
Back
Fiets, toebehoren
Reiniging
Back
Schoonmaakartikelen
Matten
Back
Schoonloopmatten
Droogloopmatten
Buitenmatten
Kokosmatten
Schimmel- en algen verwijderaars
Ontkalken
Afvoer ontstoppers
Back
Vloeibare ontstopper en korrels
Ontstoppingsgereedschap
Automotive
Back
Aanhanger toebehoren
Exterieur
Back
Ruitenwissers en vloeistof
Kentekenplaten
Veiligheidsuitrusting
Diefstalbeveiliging
Reiniging en bescherming
Weideafrastering
Back
Isolatoren
Schriklint
Schrikdraadbatterijen
Anti-vocht
Back
Vochtvreters
Vlaggen
Back
Vlaggen
Vlaggenstokken
Vlaggenstok toebehoren
Anti-mos en anti-onkruid producten
Regenmeters
Weerstations
Tuinnetten
Speelgoed
Klimmaterieel
Back
Ladders
Back
Reformladders
Vouwladders
Accessoires ladders
Telescoopladders
Vluchtladders
Trappen
Back
Professionele trappen
Huishoudtrappen
Accessoires trappen
Steigers
Back
Kamersteigers
Accessoires steigers
Werkplatformen
Personenliften
Hijstechniek
Back
Garage equipment
Hefmagneten
Hijsbanden
Back
Hijsbanden 1 ton
Hijsbanden 2 ton
Hijsbanden 3 ton
Hijsbanden 4 ton
Hijsbanden 5 ton
Hijsbanden 6 ton
Hijsbanden 8 ton
Hijsbanden 10 ton
Hijsbanden 12 ton
Hijsklemmen
Back
Balkklemmen
Universele plaatklemmen
Horizontale plaatklemmen
Lieren
Back
Elektrische lieren
Batterij treklier
Staaldraadtrektakels
Handlieren
Loopkatten
Back
Duwloopkat
Kettingloopkat
Spindelloopkat
Rondstroppen
Back
Rondstrop 1 ton
Rondstrop 2 ton
Rondstrop 3 ton
Rondstrop 4 ton
Rondstrop 5 ton
Rondstrop 6 ton
Rondstrop 8 ton
Rondstrop 10 ton
Takels
Back
Elektrische kettingtakels
Back
Elektrische kettingtakels 230V
Elektrische kettingtakels 400V
Handkettingtakels
Back
Premium handkettingtakels
Vonkvrije handkettingtakels
Handkettingtakels met kettingloopkat
Rateltakels
Pneumatische takels
Takel, toebehoren
Back
Lastketting voor hand gedreven kettingtakels
Lastketting voor motor gedreven kettingtakels
Driepoten
Grade 80
Back
Topschalm
Wartel oogbout
Spanketting
Ratel ladingsspanner
Kortschalm lastketting
Ooghaak
Inkorthaak
Verbindingsschalm
Wartelhaak
Oogbout
Oogmoer
Inkortklauw
Aanlashaak
Aanlasoog
Voorloper
2-sprong
4-sprong
Kraanschalm
Gaffelhaak
Veiligheids ooghaak
View All
Grade 100
Back
Voorloper
2-sprong
4-sprong
Gaffelhaak
Veiligheids ooghaak
Veiligheids gaffelhaak
Veiligheids wartelhaak
Inkort ooghaak
Topschalm
Ratel ladingsspanner
Kortschalm lastketting
Ooghaak
Verbindingsschalm
Inkorthaak
Kogelkophaak
Vijzels, dommekrachten en machineheffers
Klapblokken
Sluitingen
Sjorbanden en omsnoerbanden
WINTER
Back
Vorstvrije kranen en verwarmingslinten
Sneeuwpret
Verwarming
Sneeuwschuivers en bezems
Auto accessoires winter
Strooizout
Radiatorfolie
Kerst en oud & nieuw
Doorwerktenten
Schaatsen en toebehoren
ZOMER
Back
Barbecue artikelen
Koelboxen
Ventilatoren
Folders
Back
Bouwfolder 19-05-2025 t/m 11-07-2025
Vaderdagfolder 25-5-2025 t/m 15-6-2025
Voorjaarsfolder Stihl 2025 01-03-2025 t/m 30-06-2025
Bouwfolder 24-03-2025 t/m 09-05-2025
Bouwfolder 13-01-2025 t/m 07-03-2025
Bouwfolder 04-11-2024 t/m 27-12-2024
Najaarsfolder Stihl 2024 01-09-2024 T/M 15-12-2024
Bouwfolder 02-09-2024 t/m 25-10-2024
Voorjaarsfolder Stihl 2024
Vaderdagfolder 20-05-2024 t/m 29-06-2024
Bouwfolder 13-05-2024 t/m 12-07-2024
Moederdag folder 29-04-2024 t/m 12-05-2024
Bouwfolder 11-03-2024 t/m 10-05-2024
Bouwfolder 08-01-2024 t/m 08-03-2024
Bouwfolder 30-10-2023 t/m 31-12-2023
December Cadeau folder 20-11-2023 t/m 31-12-2023
Najaarsfolder Stihl 2023
Bouw folder 04-09-2023 t/m 31-10-2023
Verfspecial folder t/m 30-08-2023
Menu
Over ons
Back
Services
Klantenpas
Onze merken
Politiekeurmerk
Specialisme
Back
Verfspecialist
Bedrijfskleding
Sierbeslag
Deuren
Kastenwanden
Insectenwering
Folders
Contact
Sale
Back
Kleding
Schoenen
Machines & toebehoren
Overige
IJzerwaren
Back
Ankerwerk
Back
Houtverbindingen
Back
Hoeken
Raveeldragers
Tuinbeslag
Draadmaterialen
Back
Draad
Back
Binddraad, ijzerdraad
Gaas
Back
Gaas geweven
Panelen
Siergaas
Vliegengaas
Volièregaas, gepuntlast
IJzerdraad
Back
IJzerdraad hard
Laselektroden
Staaldraad
Back
Staaldraadkabel
Aandrijftechniek
Back
Spanbussen
Lagers
Woondecoratie
Back
Gordijnophangsystemen
Back
Gordijnroede
Gordijnroede, toebehoren
Gordijnrail
Gordijnrail, toebehoren
Schilderijophangsystemen
Back
Schilderijrail
Schilderijrail, toebehoren
Veren
Back
Drukveren
Trekveren
Dragers
Kabels
Back
Kabelklemmen
Kabeltoebehoren
Spanschroeven
Katrollen
Kettingen
Back
Genovese kettingen
Kettingen gekleurd
Voetkettingen
Ketting, toebehoren
Scheepskettingen
S-haken
Sierkettingen
Victorkettingen
Voetkettingen
Kogelketting
Patentketting
Wandrailsystemen
Back
Wandrails
Aanlegringen
Koordhouders
Krulhaken
Musketonhaken
Ogen
Ophangogen
Puntduimen
Schroefduimen
Schroefhaken
Schroefogen
Bevestigingsmaterialen
Back
Afdekkappen Moeren, Bouten en Schroeven
Schroeven
Back
Afstandschroeven
Houtschroeven
Houtbouwschroeven
MDF schroeven
Plaatschroeven zelfborend
Snelbouwschroeven
Snelbouwschroeven op band
Spaanplaatschroeven
Stelschroeven
HPL-plaatschroeven
Vlonderschroeven
Glaslatschroeven
Beslagschroeven
Stokeinden
Plaatschroeven zelftappend
Profielplaatschroeven
Tuinbeslagschroeven
Paalhouderschroeven
Sandwichpaneelschroeven
Sprenglerschroeven
Bouten
Back
Metaalschroeven
Vleugelschroeven
Houtdraadbouten
Oogbouten
Slotbouten
Zeskantbouten
Zeskanttapbouten
Patentbouten
Binnenzeskantbouten
Golfplaatbouten
Bouwverankering
Back
Ankers
Keilbouten
Keilhulzen
Spanhulzen
Bundelbanden
Chemische verankering
Back
Chemische ankers
Ankerstangen
Draadstangen
Klinksystemen
Back
Blindklinknagels
Blindklinkmoeren
Klinknagels
Moeren
Back
Borgmoeren
Dopmoeren
Flensmoeren
Oogmoeren
Vleugelmoeren
Zeskantmoeren
Koppelmoeren
Dwarsmoeren
Hulsmoeren
Nieten
Nagels
Back
Bootnagels
Bouwplaatnagels
Brads
Nagels op strip/band
Draadnagels / spijkers
Draadkrammen
Duplexnagels
Betonnagels
Klisjesnagels
Meubelnagels
Ribnagels
Schroefnagels
Stalen nagels
T-nagels
Tochtstripnagels
Coilnagels
Asfaltnagels
Golfplaatnagels
Pennen
Back
Borgpennen
Borgveren
Splitpennen
Pluggen
Back
Gasbetonpluggen
Hollewandpluggen
Hollewandankers
Isolatieplaatpluggen
Kozijnpluggen
Nagelpluggen
Universeel pluggen
Constructiepluggen
Messing pluggen
Rubber pluggen
Gevelpluggen
Ringen
Back
Afdichtringen
Asborgringen
Carrosserieringen
Isolatieringen
Kraalringen
Sluitringen
Veerringen
Fiberringen
Zeilringen
Gelaste ringen
Sluitplaten
Sluitingen
Back
D-Sluitingen
Harpsluitingen
Touw en koord
Back
Polypropyleen touw
Nylon koord
Bindtouw
Metselkoord
Paktouw
Bootlijn
Nylon snoer
Hang- en Sluitwerk
Back
Bouwbeslag
Back
Meubelbeslag
Back
Meubelverbindingen
Ladebeslag
Back
Ladegrepen
Ladegeleiders
Meubelgrepen
Meubelknoppen
Meubelbescherming
Back
Viltglijders
Nylon en metalen glijders
Anti-krasvilt
Anti-slip
Stootdoppen
Insteekdoppen
Peerdoppen
Deurbeslag
Back
Veiligheidsbeslag
Back
Veiligheids garnituren
Veiligheids rozetten
Veiligheids schilden
Beldrukkers
Briefplaten
Brievenbusafdichtingen
Deurgarnituren
Deurbeslag, toebehoren
Deurstoppers en deurbuffers
Deurknoppen
Deurkrukken
Knopkrukken
Deurspionnen
Huisnummers
Back
Stickers
Rozetten
Back
Cilinderrozetten
Krukrozetten
Sleutelrozetten en plaatjes
Knopschilden
Schuifdeurkommen
Stormkettingen
Schilden
Raambeslag
Back
Raamuitzetters
Back
Electrische raamopeners
Combi-uitzetters
Telescopische uitzetters
Uitzetters met vaste standen
Onderdelen en accessoires uitzetters
Raamsluitingen
Veiligheidsraamsluitingen
Raam oplegsloten
Raam veiligheidsoplegsloten
Draai-kiep raamkrukken
Raamknippen
Valijzers
Raamscharen
Raampennen
Raambeslag, toebehoren
Schuifdeurbeslag
Back
Schuifdeurrails
Schuifdeurgeleiders
Geleiderprofielen
Raildragers
Onderrollen
Hangrollen
Deurpaketten
Softclose
Accessoires en toebehoren
Garderobesystemen
Back
Kastroede
Kastroedesteunen
Gardelux 1 garderobes
Haken en kapstokgarnituren
Back
Hoed- en jashaken
Jashaken
Handdoekhaken
Leuninghouders
Zorgbeslag
Back
Zorgproducten junior
Zorgproducten senior
Rolluikbeslag
Back
Rolluikbeslag, toebehoren
Grepen
Back
Kistgrepen
Komgrepen
Handgrepen
Brievenbussen
Inbraakbeveiliging
Back
Anti-klimstrippen
Anti-inbraakstrips deuren
Anti-inbraakstrips ramen
Barrierestangen
Schuifpuibeveiliging
Valraambeveiliging
Garagedeurbeveiliging
Cilinders
Back
Dubbele profielcilinders
Halve profielcilinders
Knopcilinders
Gelijksluitende sets
Cilinders met veiligheidscertificaat
Elektronische cilinders
Overige cilinders
Back
Automatencilinders
Nokkensloten
Hangsloten
Back
Hangsloten cilinder
Discussloten
Hangsloten met cijfer
Hangsloten gelijksluitend
Ketting- kabelsloten
Back
Kettingsloten
Kabelsloten
Kluizen
Back
Geldkisten
Kluizen
Sleutelkasten/-kluizen
Scharnieren
Back
Ongelagerde scharnieren
Kogellagerscharnieren
Smart scharnieren
Veiligheidsscharnieren
Back
Kogellagerscharnieren
Ongelagerde scharnieren
Venelite- en nylonlagerscharnieren
Kogelstiftpaumelles
Smart scharnieren
Venelite- en nylonlagerscharnieren
Deurveerscharnieren
Kogelstiftpaumelles
Inboorpaumelles
Aanlashengen en paumelles
Hengen
Back
Staarthengen
Kruishengen
Duimhengen
Duimen
Dievenklauwen
Keukenscharnieren
Glasdeurscharnieren
Pianoscharnieren
Scharnierbeveiliging
Onderdelen en accessoires scharnieren
Back
Scharnierpennen
Lagers
Vulringen
Onderlegplaten
Sierhulzen
Overige scharnieren
Sloten
Back
Binnendeursloten
Back
Loopsloten
Kastsloten
Badkamersloten
Klaviersloten
Cilindersloten
Magneetsloten
Schuifdeursloten
Rolschootdeursloten
Paniekdeursloten
Veiligheidssloten
Back
Veiligheidssloten
Veiligheidsbijzetsloten
Smaldeursloten
Back
Loopsloten
Kastsloten
Cilindersloten
Rolschootdeursloten
Schuifdeursloten
Oplegsloten
Meubelsloten
Sluitkommen
Sluitplaten
Sleutels en toebehoren
Sluitwerk
Back
Snapsluitingen
Anti-paniekbeslag
Deurdrangers en toebehoren
Deursluiters
Deurvastzetters en toebehoren
Espagnoletten en toebehoren
Grendels
Back
Grondgrendels
Hangslotgrendels
Varkenshokgrendels
Staartgrendels
Plaatgrendels
Valgrendels
Grendelsloten
Luikoverslagen
Overslaggrendels
Toebehoren grendels
Universeelgrendels
Insteekgrendels
Insteekgrendels afsluitbaar
Kierstandhouders
Overvallen
Schuiven
Back
Krukschuiven
Rolstaartschuiven
Rolschuiven
Hangslotschuiven
Voordeurschuiven
Profielschuiven
Kantschuiven
Lichte schuiven
Deuropvangbeugels
Eierkistsluitingen
Elektronische beveiligingssystemen
Freesmallen
Bouwmaterialen
Back
Profielen
Back
Bouwprofielen
Back
Afdekstrippen
Dakrandprofielen
Horprofielen
Lekdorpelprofielen
Plaatprofielen
Profielen standaard
Trapprofielen
Tafelrandprofielen
Stucprofielen
Beschermingsprofielen
Platen
Back
Stuco platen
Preventieprofielen
Back
Raamprofielen anti-inbraak
Raamprofielen anti-inbraak SKG*
Raampreventieprofiel, toebehoren
Folies
Back
Bouwfolies
Beschermfolies
Isolatiematerialen
Lood
Back
Bladloodvervangers
Afdichtingsbanden
Back
Beglazingsbanden
Compressiebanden
Dichtingsbanden
Rugvullingsmaterialen
Schuimband
Dakbedekkingen
Back
Dakbedekkingen
Rookgasafvoermateriaal
Back
Boldraadroosters
Ventilatie
Back
Luchtroosters
Ventielroosters
Bolroosters
Deurroosters
Overdrukroosters
Plintroosters
Schuifroosters
Schoepenroosters
Ventilatiebuis
Ventilatiebuis, toebehoren
Ventilatieroosters
Ventilatierozetten
Ventilatiesets
Ventilatiestrippen
Ventilatoren
Vloer-gevelventilatie
Afvalzakken
Afdekmaterialen
Back
Beschermmaterialen
Dekkleden
Gips, mortel en vulmaterialen
Back
Portlandcement
Zandcement
Snel-cement
Metselmortel
Zand
Egalisatiemiddelen
Tegellijmen
Tegelvoeg
Vulmaterialen
Gipspleister
Voor- & nabehandeling
Vuurvaste mortel
Net / wapening
Golfplaten en toebehoren
Tochtwering
Back
Inbouwprofielen
Opbouwprofielen
Dorpelprofielen
Borstelprofielen
Slijtdorpels
Valdorpels
Zelfklevend tochtband
Brievenbus afsluiters
Tochtwering, accessoires
Rook- en brandwering
Geluidswering
Vingerbescherming
Installatietechniek en Sanitair
Back
Sanitair
Back
Toiletten
Back
Toilet-accessoires
Toilet, toebehoren
Toiletzittingen
Badkamer
Back
Badkamer-accessoires
Douchekoppen
Glijstangen
Doucheslangen
Back
Doucheslangen metaal
Doucheslangen kunststof
Douchegordijn en toebehoren
Kranen
Back
Douchekranen
Badkranen
Wastafelkranen
Fontein en toiletkranen
Keukenkranen
Kraan toebehoren
Zorghulpmiddelen
Sifons & Wastes
Afsluiters
Back
Kogelkranen
Schuifafsluiters
Binnenriolering
Back
Binnenriolering, pvc
Back
PVC Buis
PVC Hulpstukken
Back
Lijmverbinding
Manchetverbinding
Binnenrioleringonderdelen
Afvoerputten en goten
Back
Gootsteenplug, korfplug, simplexplug
Back
Plugstoppen
Vloerputten
Douchepluggen
Douchegoot
Sifons en toebehoren
Beluchting en Ontluchting
Back
Ontluchters/beluchters
Plakplaten
Ontluchtingskappen
Buitenriolering
Back
Buitenriolering, pvc
Back
PVC Buis
PVC Hulpstukken
Back
Manchetverbinding
Buitenrioleringonderdelen
Hemelwaterafvoer
Back
Dakgoten
Back
Bakgoot en hulpstukken
Kraalgoot en hulpstukken
Mastgoot en hulpstukken
Hemelwaterafvoeronderdelen
Regentonnen
Buis
Hulpstukken
Platdakafvoer
Lijngoten, Afvoergoten
Hemelwaterafvoer Zink
Buisklemmen
Fittingen
Back
Malleabele fittingen
Messing Soldeerfittingen
Gaskoppelingen
Messing draadfittingen
RVS draadfittingen
Messing slangtules
Multi-fit systeem
Kranen
Back
Kraanverlengstukken
Rozetten en S-koppelingen
Vorstvrije buitenkranen
Tapkranen
Manometers
Oorklemmen
Slangklemmen
Terugslagkleppen
Verwarmingslinten
Drukleidingsystemen
Back
PVC Drukhulpstukken
Back
Lijm hulpstukken
Draad hulpstukken
Lijm / draad overgangshulpstukken
Kunststof afsluiters, terugslagkleppen en toebehoren
PP Aanboorzadels voor PVC / PE buizen
Slangtules
Gasslangen
Geka koppelingen
Tyleen
Back
Tyleenslang
Tyleen koppelingen
Flexibele aansluitslangen rvs
ALU-PERS SYSTEEM
Back
Alu-pers gereedschap
Alu-pers systeem buis
Schroefdraadafdichting
Verf, Lijm, Kit en Tape
Back
Tapes
Back
Afdichtingstapes
Isolatietapes
Verpakkingstapes en plakband
Bevestigingstapes
Duct tapes
Masking tapes
Magneetband
Kantband
Klittenband
Veiligheid en markering
Back
Tapes anti-slip
Aluminium tapes
Tapijttapes
Duurzaam luchtdicht bouwen
Teflon tape
Kitten
Back
Ontvetters en finishers
Afdichtingskitten
Acrylaatkitten
Beglazingskitten
Kit, toebehoren
Kitten brandvertragend
Kitten vuurvast
Lijmkitten
Siliconenkitten
Montagelijmen
EPDM Lijmen
Lijmen
Back
Montagekitten
Contactlijmen
Huishoud- en Hobbylijmen
Houtlijmen
Constructielijmen
Speciale lijmen
Lijmen 2-componenten
Lijmpatronen
PVC lijmen
Secondelijmen
Vloerbedekkingslijmen
Wandbekledingslijmen
Steenlijmen
Borgmiddelen
Lijmspray
Lijmboxen
Vloeibare pakking
Cilindrische bevestiging
Pasta's
Back
Koperpasta's
Snijpasta's
Stoppasta's
Purschuimen
Back
Reinigers
Verf
Back
Autolakken
Back
Primers aerosol
Markeringsverven
Buiten Beitsen
Deklagen
Grondlagen
Muurverven
Oliën
Vloerverven
Eén Pot systeem
Grondverven
Lakverven
Spuitbussen
Betonverven
Metaalverven
Radiatorlakken
Tuinbeitsen en Oliën
Tegellakken
Menie
Reinigen, ontvetten en verdunnen
Back
Reinigers en verdunners
Plamuren en vulmiddelen
Technische sprays, vetten en poeders
Back
Lasspray
Electro reinigings- en onderhoudssprays
Zinkspray
Smeermiddelen - Sprays vloeibaar
Smeermiddelen - Vetten
Lek - opsporingsmiddelen
Machines
Back
Accu gereedschap
Back
Machine assortiment
Accu's
Boorbreekhamers
Blindklinknageltangen
Boorhamers
Boormachines
Boorschroefmachines
Freesmachines
Lampen
Oplaadapparaten
Pompen
Stofzuigers
Schaafmachines
Scharen
Schroefautomaten
Schuurmachines
Slagmoeraanzetters
Slagschroevendraaiers
Slijpmachines
Zaagmachines
View All
Elektrisch gereedschap
Back
Boorbreekhamers
Boorhamers
Breekhamers
Boormachines
Diamant gereedschap
Freesmachines
Heaters
Heteluchtpistolen
Lasapparaten
Lijmpistolen
Mengmachines
Multi-machines
Pompen
Stofzuigers
Schuurmachines
Slijpmachines
Soldeerbouten
Tackers
Zaagmachines
Handbediende machines
Back
Boormachines
Handtackers
Tegelsnijmachines
Pneumatisch gereedschap
Back
Drukregelaars
Compressoren
Back
Compressoren - 230V
Compressorolie
Perslucht beitelhamers
Perslucht slagmoersleutels
Luchtslang en haspels
Luchtkoppelingen
Bandenpompen
Persluchtsets
Stationair machines
Back
Slijpmachines
Zaagmachines
Radio's
Back
Radio's, toebehoren
Machine koffers en Systainers
Aggregaten
Tuingereedschap
Back
Brandstoffen, oliën en smeermiddelen
Back
Onderhoudsmiddelen
Kettingzaagolie
Motorolie
2 takt / 4 takt
AdBlue
Hydraulische olie
Vulaccessoires
Jerrycans
Accu gereedschap
Back
Kettingzagen / motorzagen
Heggenscharen
Grastrimmers / kantenmaaiers / bosmaaiers
Bladblazers / bladzuigers
Combi systeem / multi systeem
Robot maaiers
Back
Robotmaaiers, toebehoren
Grasmaaiers
Snoeischaren en snoeizagen
Oplaadapparaten
Accu's
Zitmaaiers
Buxusscharen / grasscharen
Accu's, toebehoren
Hogedrukreinigers
Elektrisch gereedschap
Back
Kettingzagen / motorzagen
Heggenscharen
Grastrimmers / kantenmaaiers / bosmaaiers
Bladblazers / bladzuigers
Grasmaaiers
Verticuteermachines / gazon beluchters
Hakselaars / houtversnipperaars
Hogedrukreinigers
Back
Hogedrukreinigers, toebehoren
Motorisch gereedschap
Back
Kettingzagen / motorzagen
Heggenscharen
Grastrimmers / kantenmaaiers / bosmaaiers
Bladblazers / bladzuigers
Combi systeem / multi systeem
Grasmaaiers
Zitmaaiers
Doorslijpers / bandenzagen
Tuingereedschap, toebehoren
Back
Kettingzagen / motorzagen, toebehoren
Back
Zaagkettingen
Zaagblad geleiders
Heggenscharen, toebehoren
Grastrimmers / kantenmaaiers / bosmaaiers, toebehoren
Tuingereedschap, machine onderdelen
Machine, toebehoren
Back
Boorhouders
Boorschroefmachine, toebehoren
Boormachine, toebehoren
Decoupeerzaagmachine, toebehoren
Freesmachine, toebehoren
Heteluchtpistool, toebehoren
Mengmachine, toebehoren
Lasapparaat, toebehoren
Pomp, toebehoren
Reinigingsmachine, toebehoren
Schaafmachine, toebehoren
Schuurmachine, toebehoren
Slijpmachine, toebehoren
Soldeerbout, toebehoren
Stofzuiger, toebehoren
Zaagmachine, toebehoren
Multi-machine, toebehoren
Schroefmachine, toebehoren
Tegelsnijmachine, toebehoren
Tapijtverwijderaar, toebehoren
View All
Machineonderdelen
Back
Stofzuiger onderdelen
Toebehoren Machines
Back
Lassen en solderen
Back
Soldeer
Back
Tin / koper
Tin / lood
Soldeerstaven
Soldeervloeistof
Soldeerpasta
Boren
Back
Borensets
Betonboren
Diamantboren
Dozenboren
Glasboren
Houtboren
Kernboren
Metaalboren
Steenboren
Tegelboren
Verzinkboren
Keramiekboren
Bovenfrezen hout
Back
Fasefrezen
Frees, toebehoren
Frezen met kogellager
Frezensets
Groeffrezen
Holprofielfrezen
Hoekfrezen
Kantenfrezen
Kopieerfrezen
Kwartrondfrezen
Lijstfrezen
Profielfrezen
Sleutelgatfrezen
Sponningfrezen
V-groeffrezen
Zwaluwstaartfrezen
Getrapte frezen
Afrondfrezen
Schijffrezen
Freesboren
Frezen metaal
Back
Stiftfrezen HM
Stiftfrezen HSS
Stiftfrezen VHM
Universeelfrezen
Frezen steen
Back
Muurfrezen
Gatzagen
Back
Gatzaag, toebehoren
Polijstmiddelen
Back
Polijstsets
Polijst- en poetsschijven
Polijstmaterialen en pasta's
Schaafmessen / schaafbeitels
Schuurmiddelen
Back
Klitschuurschijven
Klitschuurbladen
Schuurbanden
Schuurschijven
Steunschijven
Schuurgaas
Handschuurmaterialen
Zaagbladen
Back
Cirkelzaagbladen
Diamant zaagbladen
Decoupeerzaagbladen
Reciprozaagbladen
Multimachine zaagbladen
Zaagblad, toebehoren
Zaagbladen voor isolatiezaag
Freesmessen en keermessen
Schijven
Back
Afbraam- doorslijpschijven
Diamant schijven
Doorslijpschijven
Lamellenschijven
Schijven assortiment
Rubberen schijven en hulpstukken
Schijven, toebehoren
Domino's / Deuvels / Duvels
Spijkers en nieten
Handgereedschappen
Back
Gereedschapssets
Aftekengereedschappen
Back
Schrijfhaken
Winkelhaken
Zwaaihaken
Veelzijdig aftekengereedschap
Passers
Centerpunten
Kraspennen
Kalklijnproducten
Potloden
Stiften
Pennen
Aftekenlakken
Gelmarkering
Krijt
Bankschroeven
Back
Bankschroeven
Draaiplaten
Opzetbekken
Beitels
Back
Koudbeitels
Sloopbeitels
Bits
Back
Bit, toebehoren
Bitsets
Blindklinktangen
Back
Blindklinktangen
Blindklinknageltang, toebehoren
Demontagegereedschappen
Back
Trekkers
Bout,- moerverwijderaars
Tapeinduithalers
Dopsleutelgereedschappen
Back
Dopsleutels
Dopsleutelsets
Dopsleutel, toebehoren
Ratels
Slagdopsleutels
Slagdopsleutelssets
Slagdopsleutels, toebehoren
Dopschroevendraaiers
Draadborstels
Back
Staaldraadborstels
Drijvers
Back
Pendrijvers
Hamers
Back
Bankhamers
Combinatiehamers
Hamers, rubber
Klauwhamers
Kloppers
Stratenmakershamers
Voorhamers
Houtbewerkingsgereedschappen
Back
Gutsen
Schaven
Verzinkboren
Kitgereedschappen
Back
Kitpistolen
Kitstrijkers
Klemgereedschappen
Back
Lijmtangen
Lijmgereedschappen
Back
Lijmkammen
Lijmpistolen
Loepen
Back
Zakloepen
Machinesleutels
Back
Moersleutels verstelbaar
Pijpsleutels
Pijpsleutelsets
Ringsleutels
Ring- steeksleutels
Ring- steeksleutelsets
Steeksleutels
Steeksleutelsets
Stiftsleutels
Stiftsleutelsets
Ring- ratelsleutelsets
Ring- steek ratelsleutels
Meetgereedschappen
Back
Afstandmeters
Micrometers
Detectors
Duimstokken
Gradenbogen
Hoekmaten
Landmetermaten
Schuifmaten
Rolbandmaten
Voelermaten- banden
Waterpassen
Multimeters
Thermo/hygrometer
Metselgereedschappen
Back
Betonschrapers
Bouwemmers
Speciekuipen
Metselprofielen
Sabels
Schragen
Spanen
Troffels
Voegborden
Voegspijkers
Raapborden
Metselkoord
Momentgereedschappen
Back
Momentsleutels
Tuingereedschappen
Back
Batsen
Back
Schepbatsen
Steekbatsen
Bijlen
Back
Houthiepen
Kloofbijlen
Keukenbijlen
Bosbouwgereedschappen
Bloemenschepjes
Bollenplanters
Cultivators
Drukspuiten
Back
Plantenspuiten
Drukspuiten
Rugspuiten
Spuiten, toebehoren
Graskantstekers
Grondboren
Hakken
Harken
Back
Asfaltharken
Bladharken
Handharkjes
Hooiharken
Tuinharken
Verticuteerharken
Kniekussens
Krabbers
Back
Handkrabbers
Messen
Back
Aspergemessen
Mesthaken
Back
Mestrieken
Onkruidstekers
Opbergsystemen
Pikhouwelen
Pootstokken
Schoppen
Back
Betonschoppen
Ballastschoppen
Graanschoppen
Zandschoppen
Schop, toebehoren
Schoffels
Elektra
Back
Beveiliging
Back
Beveiliging elektronisch
Back
Hittemelders
Rookmelders
Brandbeveiliging
Back
Vlammendovers
Batterijen
Back
Batterijen
Batterijen oplaadbaar
Knoopcellen
Batterijen voor gehoorapparaat
Batterijtesters
Verwarmingsapparatuur
Verdeelblokken en tafeldozen
Back
Verdeelblokken
Tafeldozen
Kabelhaspels
Draad en kabel
Back
Installatiedraden
Signaalkabels
Communicatiekabels
Verlengkabels
Aansluitsnoeren
Draad en kabel, toebehoren
Back
Warmtekrimpkousen
Kabelgoten
Snoerschakelaars
Ritsslang
Buitenkabels
Grondkabels
Huishoudkabels
Kabelbevestigingsmaterialen
Back
Zadels
Kabelschoenen
Back
Perskabelschoenen geïsoleerd
Lasdoppen
Lasdozen / kabeldozen
Back
Kabeldozen
Installatiematerialen
Back
Perilex
Installatiebuizen
Installatiebuis, toebehoren
Inbouwdozen
Back
Inbouwdozen
Buisinvoerstukken
Schakelmateriaal
Back
Schakelmateriaal opbouw
Schakelmateriaal inbouw
Dimmers
Bewegingsmelders
Schakelmateriaal, toebehoren
Tijdschakelaars
Schakelmateriaal spatwaterdicht opbouw
Schakelmateriaal spatwaterdicht inbouw
Schemerschakelaars
Kabelmanagementsystemen
Verlichting
Back
LED lampen
Back
E14
E27
R7S
GU10
G9
G4 // GU5.3 // GY6.35
Bewegingssensor / dag- en nacht sensor
Buisvormig
Gloeilampen
Back
E14
E27
Halogeenlampen (op=op)
Back
E14
E27
R7S
G9
G4 // GU5.3 // GY6.35
Spaarlampen
TL LED lampen
TL fluorescentielampen
LED vervanging voor CFLni lampen
Starters
TL armaturen
Zaklampen
Hoofdlampen
Looplamp
Werklampen
Inbouw armaturen
Binnenverlichting
Back
Inbouw
Buitenverlichting
Tuinverlichting
Lichtsnoeren
Lampen, toebehoren
Nachtlampen
View All
Isolatie- bescherming
Back
Gietharsen
Radio tv Audio
Back
Coax
HDMI
Bellen en Gongen
Domotica
Aardingsmaterialen
Back
Aardklemmen
Kleding en Bescherming
Back
Werkkleding
Back
Signaalkleding
Regenkleding
Bosbouwkleding
Overalls
Jassen
Bodywarmers
Vesten
Werkbroeken
Amerikaanse overalls
Korte broeken
Sweaters
Polosweaters
Polo's
T-shirts
Onderkleding
Kleding, toebehoren
Voetbescherming
Back
Werkschoenen laag
Werkschoenen hoog
Werkschoenen instapper
Veiligheidslaarzen
Laarzen
Klompen
Sokken
Schoen, toebehoren
Back
Inlegzolen
Veters
Onderhoudsmiddelen
Handbescherming
Back
Werkhandschoenen
Wegwerp handschoenen
Tuinhandschoenen
Huishoud / Outdoor handschoenen
Valbeveiliging
Back
Valbeveiligingssets
EHBO
Back
Verbandtrommels
Lasbescherming
Back
Lasschilden
Hoofdbescherming
Back
Mutsen
Caps
Gehoorbescherming
Back
Oorkappen
Oorpluggen
Oogbescherming
Back
Veiligheidsbrillen
Laserbrillen
Ademhalingsbescherming
Back
Halfgelaatsmaskers
Gelaatmasker filters
Stofmaskers
Lichaamsdelenbescherming
Back
Kniebeschermers
Koeling producten
Huidbescherming
Back
Huidreiniging
Gelaats,- en gehoorbescherming
Back
Vizier met oorkappen
Disposables
Back
Kleding wegwerp
Handbescherming wegwerp
Voetbescherming wegwerp
Kleding en bescherming voor kinderen
Huis en Tuin
Back
Logistiek
Back
Extern transport
Back
Kruiwagens
Kruiwagen onderdelen en toebehoren
Ladingvastzetsystemen
Steenkruiwagens
Gereedschapskruiwagens
Intern transport
Back
Pallettrucks
Platendragers
Steekwagens
Rolplateau's
Draaghulpmiddelen
Opbergmaterialen
Back
Assortimentsdozen
Gereedschapskisten
Gereedschapskoffers
Tassen
Spijkerschorten
Gereedschapshouders
Opslagbakken
Werkplaatsinrichting
Back
Rolbokken
Stellingen
Wielen
Back
Zwenkwielen
Bokwielen
Bebording
Verpakkingsmaterialen
Back
Blikverpakkingen en vaten
Huishoudelijk
Back
Afvalverzameling
Back
Afvalverzamelaars
Afvalzakken
Drogen
Back
Drooglijnen
Droogmolens
Droogrekken
Strijken
Wassen
Back
Wasmiddelen
Wasmachine/droger, toebehoren
Back
Wasmachine afvoerslangen
Voeding
Back
Conserveren
Barbecue artikelen
Persoonlijke verzorging
Ongedierte bestrijding
Back
Insectenwering
Back
Horren
Dierenvallen
Vliegenmeppers
Dierenverschrikkers
Bestrijdingsmiddelen
Insectenlampen
Transportmiddelen
Back
Fiets, toebehoren
Reiniging
Back
Schoonmaakartikelen
Matten
Back
Schoonloopmatten
Droogloopmatten
Buitenmatten
Kokosmatten
Schimmel- en algen verwijderaars
Ontkalken
Afvoer ontstoppers
Back
Vloeibare ontstopper en korrels
Ontstoppingsgereedschap
Automotive
Back
Aanhanger toebehoren
Exterieur
Back
Ruitenwissers en vloeistof
Kentekenplaten
Veiligheidsuitrusting
Diefstalbeveiliging
Reiniging en bescherming
Weideafrastering
Back
Isolatoren
Schriklint
Schrikdraadbatterijen
Anti-vocht
Back
Vochtvreters
Vlaggen
Back
Vlaggen
Vlaggenstokken
Vlaggenstok toebehoren
Anti-mos en anti-onkruid producten
Regenmeters
Weerstations
Tuinnetten
Speelgoed
Klimmaterieel
Back
Ladders
Back
Reformladders
Vouwladders
Accessoires ladders
Telescoopladders
Vluchtladders
Trappen
Back
Professionele trappen
Huishoudtrappen
Accessoires trappen
Steigers
Back
Kamersteigers
Accessoires steigers
Werkplatformen
Personenliften
Hijstechniek
Back
Garage equipment
Hefmagneten
Hijsbanden
Back
Hijsbanden 1 ton
Hijsbanden 2 ton
Hijsbanden 3 ton
Hijsbanden 4 ton
Hijsbanden 5 ton
Hijsbanden 6 ton
Hijsbanden 8 ton
Hijsbanden 10 ton
Hijsbanden 12 ton
Hijsklemmen
Back
Balkklemmen
Universele plaatklemmen
Horizontale plaatklemmen
Lieren
Back
Elektrische lieren
Batterij treklier
Staaldraadtrektakels
Handlieren
Loopkatten
Back
Duwloopkat
Kettingloopkat
Spindelloopkat
Rondstroppen
Back
Rondstrop 1 ton
Rondstrop 2 ton
Rondstrop 3 ton
Rondstrop 4 ton
Rondstrop 5 ton
Rondstrop 6 ton
Rondstrop 8 ton
Rondstrop 10 ton
Takels
Back
Elektrische kettingtakels
Back
Elektrische kettingtakels 230V
Elektrische kettingtakels 400V
Handkettingtakels
Back
Premium handkettingtakels
Vonkvrije handkettingtakels
Handkettingtakels met kettingloopkat
Rateltakels
Pneumatische takels
Takel, toebehoren
Back
Lastketting voor hand gedreven kettingtakels
Lastketting voor motor gedreven kettingtakels
Driepoten
Grade 80
Back
Topschalm
Wartel oogbout
Spanketting
Ratel ladingsspanner
Kortschalm lastketting
Ooghaak
Inkorthaak
Verbindingsschalm
Wartelhaak
Oogbout
Oogmoer
Inkortklauw
Aanlashaak
Aanlasoog
Voorloper
2-sprong
4-sprong
Kraanschalm
Gaffelhaak
Veiligheids ooghaak
View All
Grade 100
Back
Voorloper
2-sprong
4-sprong
Gaffelhaak
Veiligheids ooghaak
Veiligheids gaffelhaak
Veiligheids wartelhaak
Inkort ooghaak
Topschalm
Ratel ladingsspanner
Kortschalm lastketting
Ooghaak
Verbindingsschalm
Inkorthaak
Kogelkophaak
Vijzels, dommekrachten en machineheffers
Klapblokken
Sluitingen
Sjorbanden en omsnoerbanden
WINTER
Back
Vorstvrije kranen en verwarmingslinten
Sneeuwpret
Verwarming
Sneeuwschuivers en bezems
Auto accessoires winter
Strooizout
Radiatorfolie
Kerst en oud & nieuw
Doorwerktenten
Schaatsen en toebehoren
ZOMER
Back
Barbecue artikelen
Koelboxen
Ventilatoren
Folders
Back
Bouwfolder 19-05-2025 t/m 11-07-2025
Vaderdagfolder 25-5-2025 t/m 15-6-2025
Voorjaarsfolder Stihl 2025 01-03-2025 t/m 30-06-2025
Bouwfolder 24-03-2025 t/m 09-05-2025
Bouwfolder 13-01-2025 t/m 07-03-2025
Bouwfolder 04-11-2024 t/m 27-12-2024
Najaarsfolder Stihl 2024 01-09-2024 T/M 15-12-2024
Bouwfolder 02-09-2024 t/m 25-10-2024
Voorjaarsfolder Stihl 2024
Vaderdagfolder 20-05-2024 t/m 29-06-2024
Bouwfolder 13-05-2024 t/m 12-07-2024
Moederdag folder 29-04-2024 t/m 12-05-2024
Bouwfolder 11-03-2024 t/m 10-05-2024
Bouwfolder 08-01-2024 t/m 08-03-2024
Bouwfolder 30-10-2023 t/m 31-12-2023
December Cadeau folder 20-11-2023 t/m 31-12-2023
Najaarsfolder Stihl 2023
Bouw folder 04-09-2023 t/m 31-10-2023
Verfspecial folder t/m 30-08-2023
(0)
items
Je hebt geen artikelen in uw winkelwagen.
Alle categorieën
Menu
Winkelwagen
Filters
Personal menu
BTW instellingen
Zoek
Startpagina
/
Hang- en Sluitwerk
/
Scharnieren
/
Inboorpaumelles
/
DX INBOORPAUMELLE STAAL SATIJN VERCHROOMD 14MM HOUTEN KOZIJN
Previous product
DX INBOORPAUMELLE STAAL RVS...
Next product
DX INBOORPAUMELLE STAAL SAT...
DX INBOORPAUMELLE STAAL SATIJN VERCHROOMD 14MM HOUTEN KOZIJN
€ 4,20 incl. BTW
Prijs per 1 stuks
Artikelnummer:
2018762
Beschikbaarheid:
Op voorraad
Aantal:
stuks
Share:
Specificaties
Product specificaties
materiaal
staal
toepassing
t.b.v. opdek binnendeuren
soort kozijn
houten kozijnen
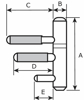
E
20 mm
A
75 mm
C
50 mm
B
14 mm
soort ring
zwart nylon
finish
satijn verchroomd
D
43 mm
draagkracht per stuk
20 kilogram
Product specificaties
materiaal
staal
toepassing
t.b.v. opdek binnendeuren
soort kozijn
houten kozijnen
E
20 mm
A
75 mm
C
50 mm
B
14 mm
soort ring
zwart nylon
finish
satijn verchroomd
D
43 mm
draagkracht per stuk
20 kilogram